GHQ6B41F-16P-DN80-FO防爆氣動球閥 自動復位氣動球閥
日期:2021/11/21
瀏覽:
| 品牌 : | 滬工恒 | 型號 : | GHQ6B41F-16P |
| 材質 : | 不銹鋼 | 連接形式 : | 法蘭 |
| 結構形式 : | 浮動球球閥 | 公稱通徑 : | DN15~DN200mm |
| 適用介質 : | 水、蒸汽、油品等; | 壓力環境 : | 常壓 |
| 工作溫度 : | 常溫 | 標準 : | 國標 |
| 流動方向 : | 單向 | 驅動方式 : | 氣動 |
| 零部件及配件 : | 執行器 | 用途 : | 截止 |
| 類型(通道位置) : | 二通式 |
產品詳情
Product details
Product details
參數
名稱: 防爆電磁氣動不銹鋼球閥型號: Q6B41F-16-25P
連接方式:法蘭連接
公稱通徑: DN15~DN200mm ;
公稱壓力: PN2.5Mpa;
適用溫度: 120℃;
閥體材質: WCB;
適用介質: 水、蒸汽、油品等;
概述
Q6B41F-16-25P防爆電磁氣動不銹鋼球閥顧名思義他是一款防爆型的氣動球閥,活塞式氣動執行器及球閥組成。氣動法蘭球閥具有結構緊湊、體積精小、運行可靠、流阻系數低、密封性好、維修容易、安裝方便、適應性強等優點。氣動法蘭球閥特別適合于介質是粘稠、含顆粒、纖維性質的場合。氣動法蘭球閥廣泛應用于石油、化工、教學設備、輕工、高壓設備、制藥、造紙等工業自動控制系統中,作遠距離集中控制或就地控制。型號編制
| Q | 6 | 4 | 1 | F | -25~40 | C | |
| 閥門代號 | 執行機構 | 作用方式 | 連接形式 | 結構形式 | 密封材質 | 公稱壓力 | 閥體材質 |
| Q:球閥 | 3:渦輪 | B:常閉 | 1:螺紋 | 1:浮動式 | F:PTFE | 10:1.0MPa | 無:鑄鐵 |
| 6:氣動 | K:常開 | 4:法蘭 | 7:固定式 | X:STL合金 | 16:1.6MPa | C:WCB | |
| 9:電動 | 7:對夾 | 4:L型三通 | X:橡膠 | 25:2.5MPa | P:304 | ||
| 無:手柄 | 40:4.0MPa | R:316 |
特點
1. 流體阻力小,其阻力系數與同長度的管段相等。2. 結構簡單、體積小、重量輕。
3. 緊密可靠,目球閥的密封面材料廣泛使用塑料、密封性好,在真空系統中也已廣泛使用。
4. 操作方便,開閉迅速,從全開到全關只要旋轉90°,便于遠距離的控制。
5. 維修方便,球閥結構簡單,密封圈一般都是活動的,拆卸更換都比較方便。
6. 適用范圍廣,通徑從小到幾毫米,大到幾米,高真空或高壓力都可應用。
工作原理
氣動控制球閥配以行程位開關、電磁閥、減壓閥及0.4-0.7MPa氣源可實現開關操作,并送出二對無源觸點信號指示閥門的開關。執行器分單作用和雙作用兩種型號。單作用式的優點是一旦動力源發生故障,氣動控制閥門將按控制系統的要求自動處于開啟或關閉的位置。氣動控制閥門廣泛應用于化工,石油,輕紡,電力,食品制藥,制冷,航空,航天,造紙等工業領域,不僅能控制氣體,液體和蒸汽介質,也適用于控制污水和含有纖維的本質。主要技術參數
| 主要技術參數 | ||||||||||||
| 公稱通徑DN(mm) | 15 | 20 | 25 | 32 | 40 | 50 | 65 | 80 | 100 | 125 | 150 | 200 |
| 額定流量系數KV | 21 | 38 | 72 | 112 | 170 | 273 | 384 | 512 | 940 | 1452 | 2222 | 3589 |
| 公稱壓力(MPa) | PN1.6、2.5、4.0、6.4 MPa;ANSI 150、300LB | |||||||||||
| 允許壓差(MPa) | ≤公稱壓力 | |||||||||||
| 閥體形式 | 兩段式鑄造球閥 | |||||||||||
| 連接形式 | 法蘭式、焊接式、螺紋式 | |||||||||||
| 閥芯形式 | "O"型球形閥芯 | |||||||||||
| 密封填料 | V型聚四氟乙烯填料、柔性石墨填料等 | |||||||||||
| 流量特性 | 近似快開型 | |||||||||||
| 動作范圍 | 0~90° | |||||||||||
| 泄露量Q | 按GB/T4213-92,小于額定KV0.01% | |||||||||||
| 可調范圍 | 250:1 | 350:1 | ||||||||||
| 配置執行機構 | 可配GT、SR、ST、AT、AW等系列氣動執行機構 | |||||||||||
| 控制方式 | 開關型(開關兩位控制)、調節型(4~20mA控制) | |||||||||||
主要零件及材料
| 主要零件及材料 | ||||
| 零件名稱 | 材料 | |||
| 閥體 | WCB | 304(CF8) | 316(CF8M) | 316L(CF3M) |
| 球體 | 2Cr13+氮化處理 | 304 | 316 | 316L |
| 閥桿 | 2Cr13 | 304 | 316 | 316L |
| 閥座密封圈 | PTFE(聚四氟乙烯)、PPL(對位聚苯)、金屬密封(硬質合金) | |||
| 填料 | V型PTFE四氟填料、柔性石墨 | |||
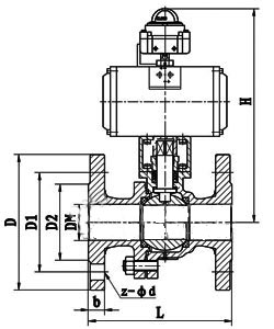
主要結構連接尺寸
| PN16~PN25主要結構連接尺寸(mm) | ||||||||||||
| 公稱通徑DN(mm) | 主要尺寸 | 法蘭尺寸 | ||||||||||
| PN1.6MPa | PN2.5MPa | |||||||||||
| L | H | H1 | L1 | D | D1 | D2 | n-φd | D | D1 | D2 | n-φd | |
| 15 | 130 | 185 | / | 140 | 95 | 65 | 46 | 4-14 | 95 | 65 | 46 | 4-14 |
| 20 | 140 | 191 | / | 140 | 105 | 75 | 45 | 4-14 | 105 | 75 | 56 | 4-14 |
| 25 | 150 | 193 | / | 140 | 115 | 85 | 65 | 4-14 | 115 | 85 | 65 | 4-14 |
| 32 | 165 | 212 | / | 164 | 140 | 100 | 76 | 4-18 | 140 | 100 | 76 | 4-18 |
| 40 | 180 | 217 | / | 164 | 150 | 110 | 84 | 4-18 | 150 | 110 | 84 | 4-18 |
| 50 | 200 | 260 | 102 | 190 | 165 | 125 | 99 | 4-18 | 165 | 125 | 99 | 4-18 |
| 65 | 220 | 293 | 114 | 210 | 185 | 145 | 118 | 4-18 | 185 | 145 | 118 | 8-18 |
| 80 | 250 | 323 | 127 | 247 | 200 | 160 | 132 | 8-18 | 200 | 160 | 132 | 8-18 |
| 100 | 280 | 382 | 152 | 276 | 220 | 180 | 156 | 8-18 | 235 | 190 | 156 | 8-22 |
| 125 | 320 | 468 | 184 | 348 | 250 | 210 | 184 | 8-18 | 270 | 220 | 184 | 8-26 |
| 150 | 360 | 510 | 219 | 378 | 285 | 240 | 211 | 8-22 | 300 | 250 | 211 | 8-26 |
| 200 | 400 | 655 | 273 | 524 | 340 | 295 | 266 | 12-22 | 360 | 310 | 274 | 12-26 |
| 250 | 630 | / | 360 | / | 405 | 355 | 319 | 12-26 | 425 | 370 | 330 | 12-30 |
| 300 | 750 | / | 395 | / | 460 | 410 | 370 | 12-26 | 485 | 430 | 389 | 16-30 |
產品外形結構尺寸圖
氣動球閥的維護
氣動球閥在安裝前的準備工作:1、保證氣動管路球閥安裝位置管線在同軸位置上,管線上兩片法蘭應保持平行,確認管線能夠承受氣動管路球閥自身重量,如果發現管線不能承受氣動管路球閥重量,則在安裝前為管線配備相應的支撐。
2、確認管線內是否有雜質、焊渣等, 要把管線內吹掃干凈。
3、核對氣動管路球閥銘牌,并對氣動管路球閥進行全開全閉數次操作,確認閥門能夠正常工作,再 檢查一次閥門的各個細節,保證閥門完好無損。
4、除去閥門兩端的保護蓋,檢查閥體內是否干凈,清洗閥體內腔,由于氣動管路球閥的密封面是球形狀,即使微小的雜物也可能造成密封面的損傷。
氣動管路球閥的安裝:
1、氣動管路球閥的任何一段都可安裝在上游端,手柄氣動管路球閥可以安裝在管線的任何位置,如果配置執行機構(如齒輪箱、電-氣動執行器)的氣動管路球閥,則 垂直安裝,閥門進出口處在水平位置上。
2、氣動管路球閥法蘭與管線法蘭間按管路設計要求裝上密封墊。
3、法蘭上的螺栓需對稱、逐次、均勻擰緊。
4、如果氣動管路球閥采取氣動、電動等執行器時,按說明書完成氣源、電源的安裝。
氣動管路球閥安裝后的檢查:
1、安裝完畢后,啟動氣動管路球閥開、關數次,應該動作靈活,受力均勻,氣動管路球閥工作正常。
2、根據管道壓力設計要求,通壓后檢測氣動管路球閥與管道法蘭結合面的密封性能。









溫馨提示:本文中所有文字、數據、圖片均只適用于參考,GHQ6B41F-16P-DN80-FO防爆氣動球閥 自動復位氣動球閥性能參數、結構尺寸參數、價格等詳情,請聯系我們。
相關文章
- 2025/01/27GHZXQYF-16RL-DN25不銹鋼在線取樣閥
- 2024/12/30手動法蘭取樣閥
- 2024/12/27自動復位在線取樣閥-帶鎖-堵頭
- 2024/12/26在線氣動定量取樣裝置-帶免開箱蓋蓋裝置
- 2024/12/26在線密閉式取樣閥-配PFA取樣瓶



電動閥門